Задняя щетка стеклоочистителя (NISSAN) 28790BU010
Последняя цена в наличии:
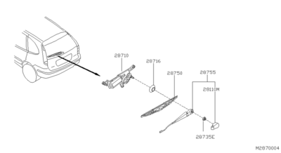
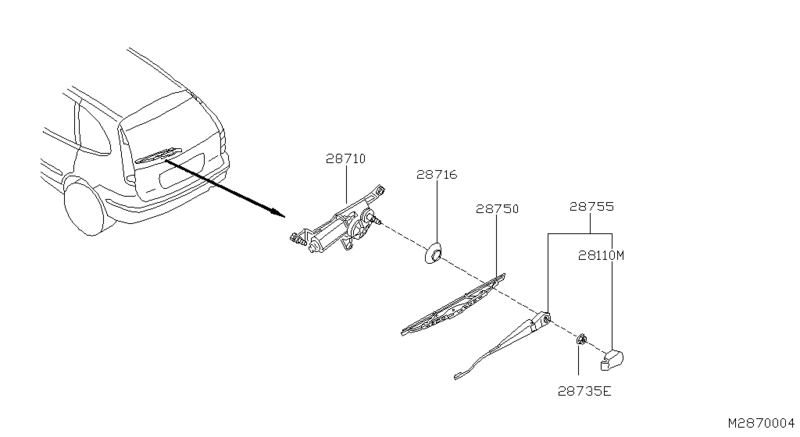
Задняя щетка стеклоочистителя (NISSAN) 28790BU010, цена ниже розничной. Номер детали на фото: 28750
| Артикул | 28790BU010 |
| Производитель | NISSAN |
Описание
Мы предлагаем Заднюю щетку стеклоочистителя (NISSAN) 28790BU010, купить со склада интернет-магазина Varaosa.ru в Москве.
Характеристики
Будьте первым, кто оставил отзыв.
Доставка по всей Москве и России


